齒輪件余熱等溫退火工藝
目前,國內外熱處理行業都在圍繞降低熱處理能源消耗、改善熱處理作業環境而進行技術改造。利用鍛件鍛造后的余熱進行等溫退火,可以節省加熱能源,提高鍛件熱處理質量,改善車間作業環境,減少后續拋丸清理時間,縮短工藝周期。因此,國內許多鍛造公司都在探索鍛件鍛造后的余熱等溫退火工藝的應用。
我公司多年來一直在研究調試余熱等溫退火工藝,并且用“TL1354”、“TL1356”、“TL4125”、“TL4129”、“TL4124S”、“TL4227”等7種材料的鍛件進行了大量工藝試驗,取得了成功。采用普通等溫退火工藝,每小時生產量為1.2t,如果采用余熱等溫退火工藝,每小時生產量為4t,大大提高了生產效率。現以材料為“TL4227”倒檔齒輪為例對其余熱等溫退火工藝進行剖析。
1.鍛件技術要求
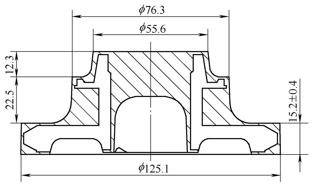
鍛件為倒檔齒輪,形狀如圖1所示,鍛件重量為1.9kg,硬度要求為149~170HBW(dB=4.60~4.90),材料為TL4227,具體化學成分見附表。

圖 1
TL4227化學成分(質量分數)%)
C | Si | Mn | S | P | Cr | Al |
0.14~0.22 | ≤0.12 | 1.0~1.5 | 0.02~0.035 | ≤0.035 | 0.8~1.3 | 0.015~0.04 |
2.工藝原理
普通等溫退火工藝為將鋼加熱到Ac3以上30~50℃的溫度,在此溫度下保溫一定時間后,比較迅速地冷卻到稍低于Ar1的某一溫度,作長時間等溫,直到使奧氏體完全轉變為珠光體,然后以任意速度進行冷卻的熱處理工藝方法。
鍛件余熱等溫退火工藝是在鍛件終鍛切邊后,以一定的冷卻速度冷到珠光體轉變溫度,在此溫度保溫到珠光體轉變結束為止,然后出爐空冷的熱處理工藝方法。采用鍛件余熱等溫退火可獲得粗細均勻的珠光體組織,可大大改善鍛件的切削加工性能。
3.工藝方法
使用設備及工裝為推輥式連續電阻爐、料箱和HB-3000型布氏硬度計。
具體工藝曲線見圖2,加熱溫度是600℃,上料帶速頻率為70Hz,爐輥速度頻率為70Hz,保溫時間2h,出爐冷卻方式為空冷。

圖 2
鍛打后的鍛件通過輸送帶(以一定的速度)進入余熱等溫退火電阻爐的料箱中,爐中共有17個料箱,爐中的輥子周期性帶動料箱向前運動,鍛件大約保溫2h,然后出爐空冷。余熱等溫退火后的鍛件硬度比較均勻,完全符合技術要求,金相組織為鐵素體+珠光體。
余熱等溫退火后鍛件硬度實際值:152~163HBW(dB=4.70~4.85),符合硬度技術要求。余熱等溫退火后鍛件的金相組織見圖3。

圖 3
4.結語
余熱等溫退火工藝大大簡化了生產工序,減少了鍛件的物流周轉成本,避免了鍛件二次加熱重新熱處理產生氧化、脫碳的傾向。同時,也減少了后續拋丸清理工序的成本,節約了能源, 降低了鍛件成本,僅此倒檔齒輪一項每年就為公司節約二十多萬元。目前,我公司已研究試驗成功了7種材料近30個品種的鍛件余熱等溫退火工藝,鍛件的熱處理質量都比較穩定。
作者:楊慧萍
單位:一汽巴勒特鍛造(長春)有限公司
來源:《金屬加工(熱加工)》雜志
(本平臺"常州精密鋼管博客網"的部分圖文來自網絡轉載,轉載目的在于傳遞更多技術信息。我們尊重原創,版權歸原作者所有,若未能找到作者和出處望請諒解,敬請聯系主編微信號:steel_tube,進行刪除或付稿費,多謝!)

